La biosfera – l’insieme delle zone (dagli avvallamenti profondi dell’oceano ai primi strati dell’atmosfera) in cui le condizioni dell’habitat permettono lo sviluppo della vita – è un’entità auto regolativa ed è un singolare organismo vivente, che assorbe materia ed energia e libera prodotti di scarto per riciclare; un sistema che ridefinisce e risolve ininterrottamente con se stesso e al proprio interno si sostiene e si riproduce. Il suo spessore massimo è di circa 20 km e se pensiamo che il raggio terrestre è 6371 km (Superficie della Terra = 5,100 × 1014 m²) e lo spessore della biosfera 20.000 m. (una vernice di minuscola consistenza) lo vedremmo come un’epidermide che permette a questa struttura animata di essere l’alveo dell’esistenza di Gaia, ossia una presenza che mantiene vitale il pianeta Terra mediante il controllo e l’auto-regolazione dell’ambiente chimico e fisico, sia quello che ha al suo interno che la modificazione di quello che gli arriva dall’esterno.
L’idea fu presentata nel 1969 a Princeton da James Lovelock, un chimico dell’atmosfera, “a una riunione scientifica sulle origini della Terra dove di sicuro non impressionò nessuno” ad eccezione della biologa Lynn Margulis dell’Università di Boston che da quel momento vi lavorò con Lovelock.
Da allora abbiamo definito Gaia come un’entità complessa comprendente la biosfera della Terra, l’atmosfera, gli oceani e il suolo, l’insieme costituendo una retroazione (feedback) o un sistema cibernetico che cerca un ambiente fisico e chimico ottimale per la vita su questo pianeta. Il mantenimento di condizioni relativamente costanti mediante una regolazione attiva può essere adeguatamente descritto con il termine di “omeostasi”. Gaia è rimasta un’ipotesi ma, come altre utili ipotesi, ha già provato il suo valore teorico, se non la sua esistenza, dando origine a ricerche sperimentali e a risultati che erano in se stessi degli utili esercizi.[1]
Era chiarissimo che alla fine degli anni ’60 l’ipotesi Gaia non impressionò nessuno; era, come tutte le ipotesi, un utile esercizio per dimostrare una teoria e specificatamente del come è l’esistenza della vita sulla terra da un punto di vista cibernetico. “Noi non siamo che materia che rimane, ma strutture (pattern) che si perpetuano”. Il mondo è costruito in base a dei pattern, una disposizione caratterizzata dall’ordinamento, non dalla natura degli elementi.
La teoria scientifica mira a dedurre, da talune ipotesi universali, l’insieme delle proposizioni riguardanti i fatti conosciuti entro un certo campo di indagine (aspetto esplicativo) e si aspira a dedurre da queste stesse ipotesi, unite alle cognizioni di determinati fatti, un insieme di nuove conseguenze osservabili (aspetto predittivo); le teorie scientifiche sono insiemi di ipotesi mediante le quali risultano collegabili dei dati sperimentali, ma poi la prova la fornisce la realtà. Ossia: ogni teoria scientifica si rifà necessariamente a ipotesi o, per meglio dire, sa che le teorie sono costrutti logici attraverso i quali si cerca di dedurre da certi asserti generali (le ipotesi) l’insieme delle proposizioni che descrivono l’universo dei dati; ogni ipotesi deve sempre essere tale da fungere da premessa maggiore di un’argomentazione al cui termine si trovi la proposizione che enuncia il dato bisognoso di spiegazione e, per di più, il tutto deve essere suffragato da un procedimento di verifica (o falsificazione) che, nel nostro caso, non può essere che empirico.
L’ipotesi Gaia è deducibile dalla teoria di cibernetica? La scienza della cibernetica studia i messaggi e “particolarmente dei messaggi effettivamente di comando”[2] e quindi da quella i cui effetti vengono autoregolati da messaggi in uscita che ritornano agli effettori e così via; da questo deriva la tesi che
un aggregato di organismi viventi [una popolazione non solo umana] può essere compresa soltanto attraverso lo studio dei messaggi e dai mezzi di comunicazione relativi ad essi[3].
Norbert Wiener rileva inoltre che
le grandi classi del comportamento sono le stesse nelle macchine e negli organismi viventi, e che classi specifiche e ristrette possono essere trovate esclusivamente nell’uno o nell’altro gruppo. [4]
La differenza che c’è fra la macchina newtoniana o a orologeria e quella cibernetica sta nel concetto di feed-back o retroazione.

Si prenda una pentola, ermeticamente chiusa, contenente una resistenza elettrica e fornita di due rubinetti: uno per immettere acqua fredda e l’altro per spillare l’acqua riscaldata dalla resistenza (in parole povere: un comunissimo scaldabagno). E’ banale che se non apriamo ambedue i rubinetti o non stacchiamo la corrente la pentola prima o poi scoppierà. Un tale sistema viene detto «a ciclo aperto». Se ora aggiungiamo a questo sistema un termometro che rilevi costantemente la temperatura dell’acqua e, a seconda di questa, comandi lo spostamento del cursore di un reostato (il quale metterà in funzione la resistenza a seconda del bisogno), avremo chiuso il circuito e avremo ottenuto il controllo della temperatura dell’acqua. Quest’ultimo sistema si dirà «a ciclo chiuso».
Come si vede, gli elementi comuni ai due sistemi sono l’effettore e l’effetto, elementi questi comuni a ogni macchina, mentre gli elementi presenti solo nella seconda macchina sono il rivelatore e il regolatore. Questi due elementi compiono le due specifiche azioni di ogni processo informativo: rilevare e organizzare dei dati e comandare l’azione in rapporto a quei dati. Questo meccanismo costituisce la specifica attività vivente di rilevamento delle variazioni ambientali e del comportamento conseguente e supera il rigido determinismo del programma dei meccanismi a orologeria. In questa nuova macchina il programma si adatta alla circostanza; in altre parole: viene qui demandato alla macchina non soltanto il compito di sostituire l’attività muscolare o fisica dell’uomo o del vivente, ma anche una parte della sua attività razionali.

fig. 2 – Il primo meccanismo a feed-back

fig. 1 – Meccanismo a orologeria
La fig. 1 è un normale meccanismo a orologeria con moto pendolare messo in moto da un peso. Il regolatore di Watt fu costruito per controllare l’afflusso del vapore nei cilindri di una locomotiva e di conseguenza la sua velocità. Si veda la cosa, schematicamente, a partire dalla figura 3: ogni aumento della velocità di rotazione dell’asse A collega per mezzo di una coppia conica all’asse motore; le due sfere solidali ad A, sottoposte alla forza centrifuga, sollevano lo snodo il quale comanda lo spostamento di una valvola a cassetto D, che controlla il flusso del vapore nel tubo di alimentazione. Diminuendo il flusso del vapore diminuisce la velocità di rotazione dell’albero motore e di conseguenza anche quella dell’asse A. Ciò fa sì che, diminuita la forza centrifuga, le due sfere si abbassino permettendo la riapertura della valvola a cassetto per quel tanto che è richiesto. Se proprio si vuole trovare un antenato del regolatore di Watt bisogna rifarsi all’opera di Agostino Ramelli (1588), Diverse ed artificiose macchine, in cui è descritto il regolatore della caduta del grano dal canale della tramoggia dei mulini a vento (o ad acqua). Tale meccanismo è stato ripresentato nel 1786 nell’Enciclopedia Metodica delle Arti e dei Mestieri meccanici di Diderot e D’Alembert.

fig. 3 – Il regolatore di Watt
Il problema da risolvere era il seguente: le macine di un mulino a vento girano a una velocità proporzionale a quella del vento; ora, se la raffica è forte e le macine non sono sufficientemente alimentate col grano, sfregano tra di loro rovinandosi, se invece il soffio è debole e le macine sono sovralimentate si creano degli ingorghi; analoghe situazioni si creano se il grano è duro e frammisto a pietruzze o se è molto morbido e pulito. La soluzione del problema è data dal semplicissimo meccanismo rappresentato nella figura 2.
Abbiamo visto cos’è l’autoregolazione. Vediamo cos’è l’omeostasi.
L’adattamento era considerato dai vitalisti, contro i meccanicisti, la caratteristica precipua degli organismi viventi e Hans Driesch non si era limitato a indicare nell’adattamento la barriera invalicabile fra il vivente e il non vivente, ma aveva altresì affermato che, unicamente nel vivente, «lo stato finale può essere raggiunto da differenti condizioni iniziali».


L’omeostasi, che in greco significa “rimango nello stesso posto”, è la propensione naturale al conseguimento di un equilibrio interno delle proprietà chimico-fisiche di un organismo vivente, per il quale tale stato di stabilità deve mantenersi nel tempo, anche al variare delle condizioni esterne, attraverso dei precisi meccanismi autoregolatori. Ross Ashby[5] dimostra che tale caratteristica è condivisa anche da alcuni meccanismi atti a trasmettere messaggi di comando e a elaborare informazione. Questi meccanismi, però, mostrano spesso una certa rigidità di rotta verso l’equilibrio; in altre parole, quando sono in presenza di disturbi ambientali o funzionali di una certa entità, perdono la loro capacità di autoregolazione. Ashby costruì una macchina in grado di rispondere a queste due esigenze: la plasticità di comportamento o riorganizzazione dei propri stati interni e l’equifinalità.
Descriviamo ora, schematicamente, l’omeostato.
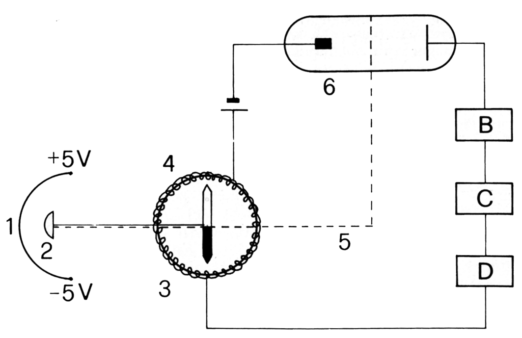
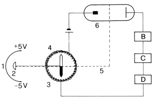
La seguente figura mostra lo schema a blocchi dell’omeostato. Si noti che ognuno dei quattro elementi è collegato, in tutti i modi possibili, con tutti gli altri elementi ed è collegato a se stesso con un circuito a feed-back. Vediamo ora, in particolare, la struttura e il funzionamento di uno degli elementi. Sia (1) una vaschetta semicircolare, piena d’acqua distillata, alle cui estremità sono applicate, mediante elettrodi, tensioni di segno opposto: diciamo + 5 V e – 5 V. In questa vaschetta è immersa la parte terminale di un’asta metallica (2) solidale al perno mobile di un ago magnetico (3) posto all’interno di un’induttanza (4), la quale fa ruotare quest’ultimo a seconda del verso e dell’intensità della corrente. Ora, a seconda della posizione dell’ago magnetico, la parte terminale dell’asta metallica si troverà a una tensione diversa (tra i + 5 V e i – 5 V). Lungo l’asta metallica (2) corre un filo (la linea tratteggiata (5) che trasporta le varie tensioni di polarizzazione della vaschetta alla griglia di un triodo (valvola termoionica) (6), il quale controlla la corrente della bobina (4). Ci troviamo, quindi, in presenza di un sistema, a detta di Ashby, di «self-feed-back» (autoregolazione della retroazione). Infatti, questo sistema è tale che i valori della corrente nell’induttanza determinano la posizione di un organo del sistema (la parte terminale dell’asta), la quale posizione, poi, influisce a sua volta sui valori della corrente dell’induttanza. Ci si ricordi che gli elementi sono quattro, collegati fra loro in tutti i modi possibili, e che, di conseguenza, ogni variazione di un elemento si riproduce come variazione degli altri tre, i quali dovranno essi pure entrare in azione per riportare l’intero sistema allo stato costante.
Il modello del movimento dell’omeostato è quello di un organismo che tende a mantenere la stabilità del suo «mezzo interno» attraverso la contingenza delle situazioni ambientali.
Possiamo paragonare l’omeostato di Ashby a un’automobile in grado di modificare, secondo le circostanze, la velocità di marcia, i rapporti del cambio, l’anticipo dell’accensione, lo stacco della frizione, l’alesaggio, la fase delle valvole, la tensione della batteria … etc … In realtà l’omeostato può cambiare 390.625 fattori del proprio comportamento. Infatti, quando la corrente di una (o più) delle induttanze raggiunge un certo voltaggio, questo fa scattare un contatto di un uniselettore (detto così perché essendo un elemento a 25 posizioni ne fa scattare una sola per volta), per cui è ovvio che i fattori saranno 254. A ciascuna di queste posizioni corrispondono valori differenti delle parti elettroniche del sistema e tali valori sono scelti a caso per i vari elementi (infatti l’omeostato, come la macchina vivente, deve essere in grado di rispondere a circostanze contingenti non previste). Ora un omeostato «in una situazione di stabilità» o (come dice il costruttore) «perfezionato fino a essere ultrastabile» tende a mantenere la propria stabilità in qualsiasi situazione, salvo ovviamente il caso in cui si stacchi la corrente o lo si prenda a martellate.

Gaia è prima di tutto una metafora che dà il nome a una teoria scientifica che sostiene che la biosfera è un’entità in grado di autoregolarsi ed è capace nel mantenere il pianeta in ottime condizioni di vitalità; questa ipotesi
considera l’evoluzione dei biota [o biocenosi o comunità dei viventi] e del loro ambiente materiale come un unico processo strettamente accoppiato, dove l’autoregolazione del clima e della chimica dell’atmosfera, dell’oceano e del suolo sono le principali proprietà emergenti.
Gaia è quindi un enorme essere vivente (dall’alga alle mangrovie, dal batterio al plancton, dall’uomo alla balena…) con proprie regole e una propria fisiologia, dato che è un organismo grande quanto la superficie del pianeta ma di spessore di appena 20 chilometri con un’atmosfera che s’è evoluta con le alghe e le piante, con i batteri anaerobi e aerobi … Pensiamo che ciò che tiene in vita le piante è anidride carbonica e l’ossigeno è un prodotto di scarto della loro respirazione.
L’atmosfera della Terra – scrive Lovelock – era una miscela di gas straordinaria e instabile, eppure sapevo che la sua composizione rimaneva costante per periodi di tempo assai lunghi. Era possibile che la vita sulla Terra non solo creasse l’atmosfera, ma che la regolasse, mantenendone la composizione costante, e a un livello favorevole alla vita degli organismi.
L’astrofisica ci dice che il calore del Sole è cresciuto del 25 per cento da quando è comparsa la vita sulla Terra e che, nonostante questo rialzo, la temperatura della superficie terrestre è rimasta costante, a un livello adatto alla vita, per quattro miliardi di anni.
E se Gaia fosse capace di regolare la propria temperatura e le altre condizioni del pianeta – la composizione dell’atmosfera, la salinità del mare, etc. – proprio come certi organismi viventi possono autoregolare e mantenere costanti la temperatura corporea e altre variabili?
La caratteristica più rilevante di questi anelli di retroazione è che essi mettono in relazione le parti viventi del pianeta – piante, microrganismi e animali – e le sue parti non viventi – rocce, oceani e atmosfera.
I vulcani terrestri espellono quantità enormi di anidride carbonica, il gas che coadiuva all’effetto serra, e Gaia ha bisogno di espellerlo dall’atmosfera; le piante e gli animali riciclano enormi quantità di CO2 e di ossigeno nei processi di fotosintesi, respirazione e putrefazione, ma questi scambi si bilanciano sempre e l’eccesso di anidride carbonica nell’atmosfera viene eliminato attraverso un immenso anello di retroazione che è un processo di degradazione meteorica: le rocce della crosta terrestre si combinano con l’acqua piovana e l’anidride carbonica per formare vari composti chimici chiamati carbonati, ma la presenza di batteri nel suolo accresce enormemente la rapidità del processo di degradazione meteorica. In un certo senso, i batteri presenti nel suolo agiscono come catalizzatori. In seguito i carbonati si dissolvono nell’oceano, dove microscopiche alghe li assorbono e li usano per costruire elaborati gusci di gesso (carbonato di calcio).

Così il CO2 che era nell’atmosfera ora è finito nei gusci di queste minuscole alghe; inoltre, le alghe oceaniche assorbono altra anidride carbonica direttamente dall’aria e quando le alghe muoiono i loro gusci si depositano sul fondo dell’oceano dove formano estesi sedimenti di calcare che affonda lentamente nel mantello terrestre e si scioglie, e una parte del CO2 contenuto nelle rocce fuse viene di nuovo espulso dai vulcani e dà inizio a un nuovo giro: l’intero ciclo di Gaia – che collega i vulcani alla degradazione meteorica, ai batteri del suolo, alle alghe oceaniche, ai sedimenti di calcare e di nuovo ai vulcani – agisce come un gigantesco anello di retroazione, che contribuisce alla regolazione della temperatura della Terra: ossia il riscaldamento solare aumenta, viene stimolato l’azione dei batteri nel suolo.[6]
Questo è quanto James Lovelock scriveva tra gli anni ’70 e ’90 del Novecento, parlando di un’infinita serie di omeostati che devono essere in grado di rispondere a circostanze contingenti non previste, ma ora – ormai quasi novantenne – è obbligato a dire: assediati dall’inquinamento e dalle crescenti anomalie del clima siamo al punto di non ritorno. E’ troppo tardi per uno sviluppo sostenibile; ciò di cui abbiamo bisogno è una ritirata sostenibile [I]t is much too late for sustainable development; what we need is a sustainable retreat, sono le ultime parole James Lovelock in The revenge of Gaia (La vendetta di Gaia).
Ross Abhy ci aveva avvertiti che l’omeostato avrebbe continuato a funzionare … a meno che lo prendessimo a martellate e che staccassimo la corrente … E ce la stiamo mettendo tutta per riuscirci …
Note
[1] Lovelock, James (1979), Gaia. Nuove Idee sull’Ecologia, Boringhieri, Torino, p. 24; Gaia: A New Look at Life on Earth, Oxford University Press.
[2] Wiener Norbet, The Human Use of Human Beings, Boston, 1950 (trad. it. Introduzione alla cibernetica, Torino, Boringhieri, 1966).
[3] Idem.
[4] A. Rosemblueth, N. Wiener, J. Bigelow, Comportamento, fine e teleologia in P. A. Rossi (ed.), Cibernetica e teoria dell’informazione, La Scuola, Brescia, 1978; cfr N. Wiener, Cibernetica, Mondadori, Milano, 1968. (Cybernetics or Control and Communication in the AnimaI and the Machine, MIT press, Cambridge Mass. 1948).
[5] ASHBY R., Progetto per un cervello, Bompiani, Milano, 1970 (Design for a Brain, Chapman & Hill, New York, 1958).
[6] Ad esempio il ciclo dello zolfo: la quantità di questo elemento che i fiumi portano al mare è maggiore di quella che il mare riconsegna direttamente, ossia la restituzione dello zolfo attraverso l’atmosfera avviene attraverso il dimetilsolfuro prodotto da alghe marine che dà origine a nuclei di condensazione di vapore acqueo da cui si formano le nubi sulla terra e le precipitazioni riportano lo zolfo sulla superficie dei continenti.
Articolo riprodotto per gentile concessione dell’autore, che ne detiene i diritti. Riproduzione vietata con qualsiasi mezzo.


Devi effettuare l'accesso per postare un commento.